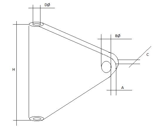
Pièces de mât de voilier
Une large gamme de pièces de mât, incluant des supports en T, des fixations d’étai avant et des pieds de mât
To install this Web App in your iPhone/iPad press
and then Add to Home Screen.